zenlayer作为知名网络提供商,在美国东海岸纽约有自己的数据中心,提供纽约云服务器、纽约独立服务器出租、纽约CDN节点、带宽出租等业务。为方便大家对该数据中心有一定的了解,主机测评带来了详细的测评数据,不愿意看全文的那就一句话总结:原生美国IP,解锁tiktok、chatgpt、claude、Gemini、spotify、steam currency等;云服务器CPU跑分不错,I/O测试效果也还好;三网去程直连美国西海岸后接国际线路去纽约,三网回程基本上以国际线路为主,晚高峰的效果不够理想,有条件的建议中转下!

官方网站:https://www.zenlayer.com/
全场所有机房通用,8.5折优惠码:zhujicepingcom30off ,循环优惠,不涨价。
服务器所用CPU型号未知,主频2.1GHz,底层为KVM虚拟,站长启用了BBR,zenlayer自己的网络,归属地美国纽约,当前I/O实测数据大致585MB/S:

FIO数据测试,4K读写大致36MB/S、IOPS大致9.2K,看起来还凑合吧:

国内三网多节点的带宽上下行测试数据:

晚高峰,国内三网多节点的带宽上下行测试数据:

站长广州联通家宽,用Chrome下载存放在测试云服务器上的文件,大致下载速度11.4MB/S:

对比看看晚高峰期的下载速度大致3.4MB/S:

晚高峰,湖北襄阳电信的机器,下载存放在测试云服务器上的文件,大致速度88.8KB/S:

晚高峰,四川眉山联通的机器,下载存放在测试云服务器上的文件,大致速度3.78MB/S:

晚高峰,广东江门移动的机器,下载存放在测试云服务器上的文件,大致速度470KB/S:

接着看speedtest.net提供部分国际节点的带宽上下行测试数据:

speedtest.net的部分亚洲节点的带宽上下行测试数据:

IPERF3测速,部分国际节点的收发数据效果如下:

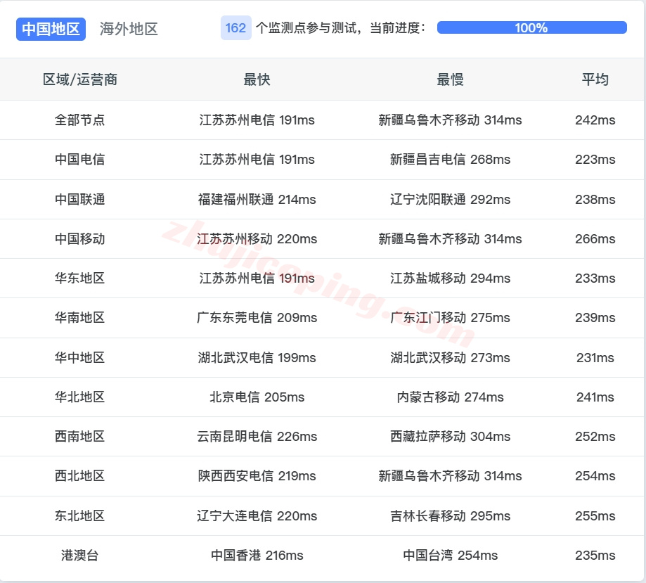
国内三网一百多个节点的延迟测试数据,平均延迟242毫秒:


电信去程:直连电信美国圣何塞节点,然后接GTT去美国纽约

联通去程:直连联通美国洛杉矶节点,然后接GTT去纽约

移动去程:直连移动美国洛杉矶节点,然后接cogent一路向东去纽约

电信回程:
北京方向:走telia一路向西到圣何塞,然后接电信pop/cogent.telia出海回国
上海、广州方向:走cogent一路向西经过洛杉矶去圣何塞,然后出海回国



联通回程:
北京方向:走telia经过纽瓦克出海去英国、法国、德国,从联通法兰克福节点出海直连回国
上海方向:走telia一路向西到洛杉矶,然后接联通peer出海回国
广州方向:走telia一路向西到洛杉矶,从洛杉矶出海回国



移动回程:
北京方向:走telia向西到圣何塞,然后接移动peer再接移动圣何塞节点直连回国
上海方向:走cogent一路向西到圣何塞,然后接移动节点直连回国
广州方向:走cogent一路向西到洛杉矶,然后接移动CMI节点直连回国



多个数据库对当前IP属性的大致判断:原生美国IP,解锁tiktok、chatgpt、spotify

部分流媒体解锁的详细情况:热门的claude、Gemini、steam currency等都可以搞定


云服务器性能测试,geekbench 6单核能跑938、双核1707,数据还是不错的:















