racknerd的Los Angeles (DC-03)数据中心就位于colocrossing的洛杉矶机房,由于常年提供低至10美元/年的美国洛杉矶VPS,因而在互联网上是非常热门的。本文是针对2025年的测评文章-“racknerd怎么样?洛杉矶DC03数据中心VPS测评”的更新,方便大家了解最新的信息。一句话测评总结:美国原生IP,解锁解锁tiktok、chatgpt、claude、netflix等,无法解锁Gemini;可能是大配置的服务器开的VPS也对,VPS性能相对较弱,要好性能的需要下单买AMD Ryzen系列;目前来看,移动的效果相对电信和联通的会好一点,电信和联通的晚高峰情况不佳。

加密货币、信用卡、PayPal、支付宝等多种付款方式!
#消息# RackNerd后台新增用户自主一键切换IPv4功能
促销款VPS :RackNerd便宜且稳定的美国VPS,仅$10/年,多机房,切换IP便宜
服务器所用的CPU型号为Intel Xeon Gold 6152(22核、44线程、主频2.1GHz、加速频率3.77GHz ),底层为KVM虚拟,不支持IPv6,网络提供商hostpapa,归属地美国洛杉矶,当前I/O实测大致422MB/S:

FIO数据读写测试,4K读写大致77MB/S、IOPS大致19.4K,看起来还可以:

国内三网多节点的带宽上下行测试数据:

晚高峰期间的三网多节点带宽上下行测试数据:

四川成都电信的机器,下载存放在测试VPS上的文件,白天、晚高峰,下载速度对比如下:


四川眉山联通的机器,下载存放在测试VPS上的文件,白天、晚高峰,下载速度对比如下:


广东江门移动的机器,下载存放在测试VPS上的文件,白天、晚高峰,下载速度对比如下:


接着看国际节点的测试数据,由speedtest.net提供的部分国际节点的带宽上下行测试数据:

speedtest.net提供的部分亚洲节点的带宽上下行测试数据:

IPERF3测速,部分国际节点的收发数据效果如下:

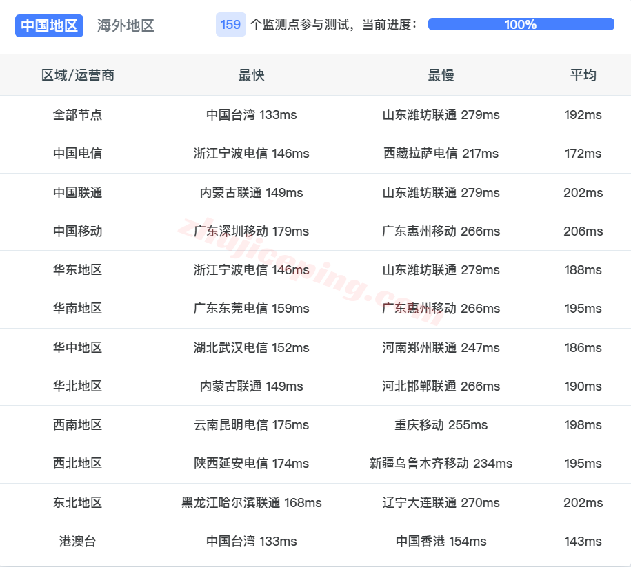
国内三网一百多个节点的延迟测试数据,平均延迟192毫秒:


电信去程:直连电信美国洛杉矶节点,然后接telia去机房

联通去程:直连联通美国洛杉矶节点,然后接telia去机房

移动去程:直连移动美国洛杉矶节点,然后接level3转lighttower去机房

电信回程:
北京方向:走telia接电信peer出海回国
上海、广州方向:走telia去洛杉矶,然后接电信pop/cogent/telia出海回国



联通回程:
北京方向:走telia去达拉斯、亚特兰大、雷斯顿,然后出海去法国、德国,然后接联通节点出海回国
上海方向:走telia出海回国
广州方向:走cogent去圣何塞,然后转sprint.net出海回国



移动回程:
北京方向:走telia转移动CMI去旧金山CMI节点,然后出海回国
上海方向:走telia,然后转移动CMI直连出海回国
广州方向:走crowncastle接zayo在转移动CMI出海回国



多个数据库对当前IP属性的大致判断:美国原生IP,解锁tiktok、chatgpt、netflix,

部分流媒体解锁的大致结果:可以解锁claude、无法解锁Gemini


VPS性能测试,geekbench 6测试,单核453、双核827;



















