justhost提供南美巴西圣保罗数据中心的VPS业务,下单的时候选择“Sao Paulo, Brazil SAO1”。该系列的巴西vps基于KVM虚拟,提供300M~1Gbps带宽,不限制流量,支持一键切换机房、一键切换IP,单个VM可以切换50次。为了方便大家对justhost的巴西vps有所了解,主机测评带来了详细的测评数据,请查阅本文细节即可。测评数据一句话总结:广播IP,解锁巴西的tiktok、chatgpt、claude、Disney+、netflix,无法解锁Gemini;延迟较高,网络方面三网速度都不太理想,如果有条件中转的话那是最好的。

付款方式:多种加密货币、信用卡、PayPal、支付宝、银联
KVM虚拟,NVMe SSD阵列,不限制流量,支持一键切换机房、一键切换IP
| 内存 | CPU | NVMe | 带宽 | 价格 | 购买 |
| 1G | 1核 | 20G | 300M | $3.23/月 | 链接 |
| 2G | 1核 | 30G | 300M | $4.61/月 | 链接 |
| 2G | 2核 | 40G | 400M | $5.99/月 | 链接 |
| 4G | 2核 | 80G | 500M | $8.96/月 | 链接 |
| 4G | 4核 | 120G | 750M | $12.2/月 | 链接 |
| 8G | 4核 | 200G | 750M | $18.63/月 | 链接 |
| 8G | 5核 | 300G | 750M | $22.08/月 | 链接 |
| 12G | 6核 | 400G | 750M | $30.36/月 | 链接 |
| 16G | 8核 | 500G | 750M | $40.71/月 | 链接 |
| 24G | 8核 | 600G | 750M | $54.51/月 | 链接 |
| 32G | 8核 | 700G | 750M | $82.11/月 | 链接 |
| 32G | 12核 | 1000G | 1000M | $109.71/月 | 链接 |
服务器所用CPU具体型号为e5-2699v4( 22核、44线程、主频2.2GHz、加速频率3.6GHz ),底层为KVM虚拟,站长开启了BBR,不支持IPv6,网络由Baxet也就是justhost自己提供,归属地为巴西圣保罗,I/O实测数据大致509MB/S:

FIO数据读写测试,4K读写分别82MB/S左右、IOPS大致20.6K左右,效果看起来还是可以的:

国内三网多节点的带宽上下行测试数据:

晚高峰期间的带宽上下行测试数据,联通和移动节点链接不畅:

四川成都电信的机器,下载存放在测试VPS上的文件,白天、晚高峰,下载速度对比如下:


四川眉山联通的机器,下载存放在测试VPS上的文件,白天、晚高峰,下载速度对比如下:


广东江门的机器,下载存放在测试VPS上的文件,白天、晚高峰,下载速度对比如下:


继续看国际部分测速,speedtest.net提供的部分国际节点的带宽上下行测试数据:

speedtest提供的部分亚洲节点的带宽上下行测试数据:

IPERF3测速,部分国际节点的收发数据效果如下:

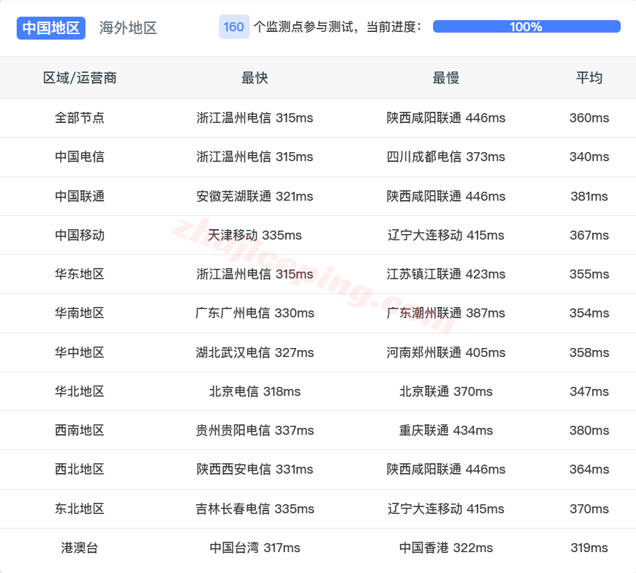
国内三网160个节点的延迟测试数据,平均延迟360毫秒:


电信去程:直连电信美国圣何塞节点,然后接cogent一路向东去美国纽约,然后出海去巴西

联通去程:直连联通美国洛杉矶节点,然后接cogent一路向南从迈阿密出海去巴西

移动去程:直连移动英国伦敦节点,然后接cogent去美国纽约再去巴西

电信回程:走cogent去美国纽约,然后一路向西到圣何塞/圣克拉拉,然后出海回中国



联通回程:走cogent去美国纽约,然后一路向西从圣何塞出海回国



移动回程:
北京、广州方向:走cogent去美国迈阿密,然后往西部走到洛杉矶,从移动CMI节点直连回国
上海方向:走cogent去美国迈阿密,然后往西部走到圣何塞,从移动CMI节点直连回国



多个数据库对当前IP属性的大致判断:广播IP,解锁巴西的tiktok、chatgpt、Disney+、netflix;

部分流媒体解锁的大致情况,热门的claude可以解锁,无法解锁Gemini;

VPS性能测试,geekbench 6单核705分、4核1822分,相对来说比较弱:


















