inet.ws提供便宜的英国vps,4美元/月起,500M带宽,最低给10T流量/月。英国vps所属服务器托管于英国nLighten数据中心(霍兹登),详细地址“Unit A1–A2, Geddings Road, Hoddesdon, Hertford, EN11 0NT”,该数据中心提供全欧洲顶尖的网络连接服务。为懒人节约时间一句话测评总结:国内平均延迟较高232毫秒左右,综合路由来看只有联通相对靠谱,结合国内三网多节点的实测数据来看也是联通较好且稳定(在晚高峰,移动几乎没速度、电信速度极慢),广播IP但是可以解锁英国的tiktok、chatgpt、claude、netflix、Disney+、reddit、steam currency等,无法解锁Google Gemini。详细测评数据请参考本文细节!

官方网站:https://inet.ws/
流量用完之后不停机,2G内存的VPS在用完流量之后会自动限速到5Mbps让你继续用直到下个月恢复,4G内存的用完后限速10Mbps,以此类推…
| 内存 | CPU | SSD | 流量 | 价格 | 购买 |
| 2G | 1核 | 30G | 10T/月 | $4/月 | 链接 |
| 4G | 2核 | 60G | 20T/月 | $8/月 | 链接 |
| 6G | 3核 | 90G | 30T/月 | $14/月 | 链接 |
| 8G | 4核 | 120G | 40T/月 | $20/月 | 链接 |
| 12G | 6核 | 180G | 50T/月 | $30/月 | 链接 |
| 16G | 8核 | 240G | 60T/月 | $40/月 | 链接 |
| 24G | 10核 | 360G | 70T/月 | $50/月 | 链接 |
| 32G | 12核 | 480G | 80T/月 | $60/月 | 链接 |
| 40G | 14核 | 600G | 90T/月 | $70/月 | 链接 |
服务器所用的CPU为Intel Xeon Gold 6152(22核、44线程、主频2.1GHz、加速频率3.7GHz ),底层为KVM虚拟,站长开启了BBR,不支持IPv6,上游为GThost,归属地为英国伦敦,当前I/O实测数据大致878MB/S:

FIO实测数据读写,当前结果大致如下所示:

国内三网多节点的带宽上下行测试数据,白天基本上都能跑300Mbps以上:

晚高峰期间,联通测试节点链接不畅,相比白天数据下滑及其严重:

陕西西安电信的机器,下载存放在测试所用VPS上的文件,白天、晚高峰,下载速度对比如下:


四川成都电信的机器,下载存放在测试所用VPS上的文件,白天、晚高峰,下载速度对比如下:


四川眉山联通的机器,下载存放在测试所用VPS上的文件,白天、晚高峰,下载速度对比如下:


广东江门移动的机器,下载存放在测试所用VPS上的文件,白天、晚高峰,下载速度对比如下:


接下来看看speedtest提供的部分国际节点的带宽上下行测试数据:

再细分看看speedtest的部分亚洲节点的带宽上下行测试数据:

IPERF3测速,部分国际节点的收发数据效果如下图:

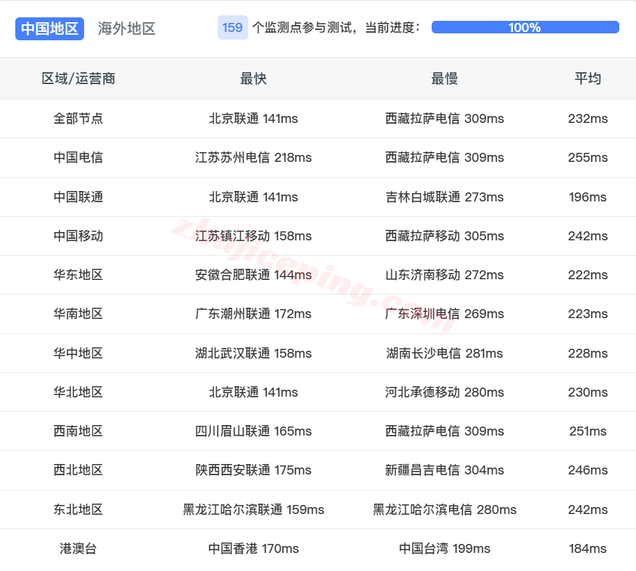
国内三网一百多个节点的延迟测试数据,平均延迟232毫秒:


电信去程:直连电信美国圣克拉拉节点然后走GTT去英国伦敦

联通去程:直连联通德国法兰克福节点,然后经过荷兰去英国

移动去程:直连移动英国伦敦节点,然后接cogent去机房

电信回程:走GTT经过荷兰阿姆斯特丹转电信直连回国



联通回程:内网去荷兰,接AMS-IX对接联通pop直连回国



移动回程:
北京方向:走GTT去美国洛杉矶,然后接移动CMI直连回国
上海方向:直接接移动法兰西堡pop出海回国
广州方向:走cogent去美国纽约,然后一路向西到洛杉矶,然后接移动CMI直连回国



多个数据库对当前IP属性的阿志判断:广播IP,可以解锁英国的tiktok、chatgpt、netflix、Disney+、reddit等

部分流媒体解锁的大致结果:无法解锁Gemini,可以解锁claude、steam currency等


VPS性能跑分,geekbench 6 单核579分,双核1047分,相对一般或者较弱:






















