zenlayer在非洲埃及的开罗有部署数据中心,运作埃及云服务器、埃及独立服务器、埃及CDN节点、埃及带宽出租等业务。zenlayer的埃及云服务器支持按小时计费,单个VM最大10Gbps带宽,可按大带宽配实际使用流量、独享带宽两种方式选择,CPU、内存、硬盘、IP、防御等均可以自定义配置。本文有详细的测评数据仅供参考,如果要节约时间那就看站长的简单一句话总结:延迟高,路由绕道美国/欧洲,需要中转;IP是广播的,但是可以解锁埃及的tiktok、chatgpt、spotify、claude、Gemini、steam currency等。

官方网站:https://www.zenlayer.com/
全场所有机房通用,8.5折优惠码:zhujicepingcom30off ,循环优惠,不涨价。
服务器所用CPU型号未知,主频2.1GHz,底层为KVM虚拟,站在启用了BBR,不支持IPv6,网络提供商就是zenlayer自己,归属地埃及开罗,当前实测I/O大致490.7MB/S:

FIO实测数据读写,数据不算差:

国内三网多节点的带宽上下行测试数据:

晚高峰期间的测试数据,联通和移动节点链接不畅:

站长广州联通家宽,晚高峰期间,用Chrome下载存放在测试所用的云服务器上的文件,下载速度大致1869KB/S:

晚高峰,湖北襄阳电信的机器,下载存放在测试所用云服务器上的文件,速度大致251KB/S:

晚高峰,四川眉山联通的机器,下载速度大致10.4MB/S:

晚高峰,广东江门移动的机器,下载速度7.94MB/S:

SpeedTest.Net的部分国际节点的带宽上下行测试数据:

SpeedTest.Net的部分亚洲节点的带宽上下行测试数据:

IPERF3测速,部分国际节点的收发数据效果如下所示:

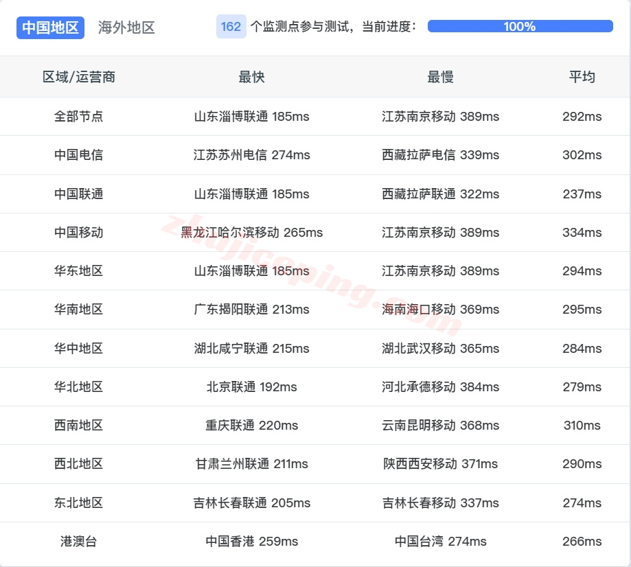
国内三网一百多个节点的延迟测试数据如下,平均延迟292毫秒:


电信去程:直连电信美国圣何塞节点, 然后走GTT去意大利、英国、埃及开罗

联通去程:直连联通德国法兰克福节点,然后接seabone去意大利、埃及开罗

移动去程:直连移动美国洛杉矶节点,然后接level3去意大利、埃及开罗

电信回程:
北京方向:走zenlayer的网络对接level3去法国、英国,然后出海回国
上海、广州方向:走zenlayer转cogent去法国、德国,从法兰克福出海回国



联通回程:
北京、广州方向:走cogent去法国、德国,然后出海回国
上海方向:走zenlayer的网络对接level3去法国、美国圣何塞,然后接联通peer/level3出海回国



移动回程:
北京方向:走zenlayer的网络对接level3去法国、英国,在英国斯劳接移动CMI直连回国
上海方向:走zenlayer的网络转cogent去法国、英国,从斯劳接移动peer,然后对接移动CMI直连回国
广州方向:走zenlayer的网络转level3去英国伦敦,然后接移动CMI直连回国



多个数据库对当前IP属性的大致判断:广播IP,解锁埃及的TikTok、chatgpt、spotify,无法解锁Disney和netflix

部分流媒体解锁的大致详情,能解锁claude、Gemini、steam currency等热门的;

云服务器性能测试,geekbench6 但核能跑988分,双核1185分


















