yt.net/云途最近新增了香港精品网云服务器业务,官方的描述很简单就一句话“香港三网精品云主机、广播IP、电信CN2、联通10099、移动CMI”,实际上是自带一个IPv4+一个IPv6,不支持Windows,可一键切换IP(收费25元/次),自带VNC,快照10元/个(一次性付款)。实际效果到底如何主机测评带来了详细的测评数据,网络和IP解锁或许还有一点儿惊喜…

9折优惠码: zhujiceping ,循环9折,续费也9折!
香港三网精品云主机、广播IP、电信CN2、联通10099、移动CMI
| 内存 | CPU | SSD | 流量 | 带宽 | 价格 | 购买 |
| 1G | 1核 | 15G | 300G/月 | 20Mbps | 28元/月 | 链接 |
| 2G | 2核 | 30G | 800G/月 | 30Mbps | 58元/月 | 链接 |
| 4G | 4核 | 50G | 1500G/月 | 50Mbps | 98元/月 | 链接 |
| 4G | 4核 | 50G | 500G/月 | 30Mbps | 68元/月 | 链接 |
| 8G | 8核 | 100G | 2000G/月 | 75Mbps | 138元/月 | 链接 |
服务器用的CPU型号为Intel Xeon Platinum 8259CL(24核、48线程、主频2.5GHz、加速频率3.5GHz ),底层为KVM虚拟,BBR已被启用,同时支持IPv4&v6,上游网络提供商XNNET,归属地显示为新加坡,当前实测I/O大致502.7MB/S:

FIO实测数据读写的大致结果如下所示:

国内三网多节点的带宽上下行测试数据:

晚高峰期间的三网多节点测试数据:

陕西西安电信的机器,下载存放在测试云服务器上的文件,白天和晚高峰期间,下载速度对比:


四川成都电信的机器,下载存放在测试云服务器上的文件,白天和晚高峰期间,下载速度对比:


四川眉山联通的机器,下载存放在测试云服务器上的文件,白天和晚高峰期间,下载速度对比:


广东江门移动的机器,下载存放在测试云服务器上的文件,白天和晚高峰期间,下载速度对比:


speedtest的部分国际节点的带宽上下行测试数据如下所示:

SpeedTest的部分亚洲节点的带宽上下行测试数据如下所示:

IPv4环境下,IPERF3实测部分国际节点的收发数据效果如下:

IPv6环境下,IPERF3实测部分国际节点的收发数据效果如下:

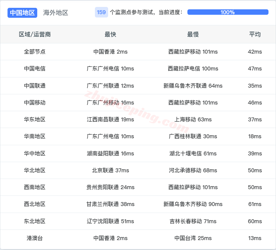
国内三网多节点的延迟测试数据,平均延迟42毫秒:


电信去程:走CN2链路去香港

联通去程:联通AS4839+AS10099直连香港

移动去程:移动CMI直连香港

电信回程:从电信香港CTG接电信CN2回内地



联通回程:香港联通AS10099+AS4837直连内地



移动回程:香港移动cmi直连内地



多个数据库对当期IPv4属性的大致判断:广播IP,解锁新加坡的tiktok、netflix、Disney+、reddit

部分流媒体解锁的详细结果:解锁美区Gemini、香港Claude、香港 steam currency

IPv6环境下,多个数据库对当前IP属性的大致判断:原生香港IPv6,无法解锁tiktok、可解锁新加坡chatgpt、解锁香港netflix、香港Disney+

IPv6环境下的部分流媒体解锁的详细情况:

云服务器性能测试,geekbench 6单核跑分1247,双核跑分3935,相当给力:




大致总结下:
IPv4是广播的,解锁新加坡的tiktok/netflix/Disney+/reddit ,解锁美区Gemini、香港Claude/steam currency
IPv6是原生香港IP,无法解锁tiktok、可解锁新加坡chatgpt、解锁香港netflix、香港Disney+
VPS云服务器的性能相当给力,无需担忧;
三网去程:电信走CN2,联通AS4837+AS10099,移动CMI直连;
三网回程:电信走CN2,联通AS4837+AS10099,移动CMI直连;
整体来说,网络有保障,全天候都能跑,值得试试!




















